Kinh nghiệm sửa chữa nhà

Các phương pháp tham khảo xử lý vết nứt bê tông
Các phương pháp tham khảo xử lý vết nứt bê tông

1166 Lượt xem

Các phương pháp tham khảo xử lý vết nứt bê tông sẽ giúp bạn có hướng nhìn mới hơn. Bao gồm 3 cách cơ bản là gia cường dầm đua tấm ngăn, cải thiện điều kiện sử dụng của kết cấu và tháo dỡ cục bộ làm lại.

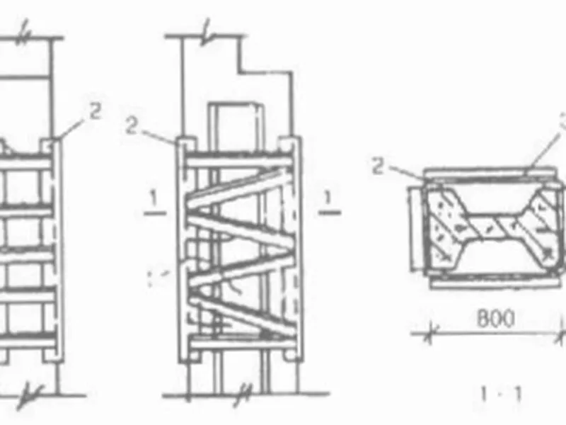
Xử Lý Sự Cố Nứt Bê Tông Bằng Phương Pháp Gia Cường Kết Cấu
Xử Lý Sự Cố Nứt Bê Tông Bằng Phương Pháp Gia Cường Kết Cấu

3111 Lượt xem

Các vết nứt bê tông nguy hiểm đến an toàn của kết cấu đều cần phải gia cường kết cấu. Cùng tìm hiểu cách Xử Lý Sự Cố Nứt Bê Tông Bằng Phương Pháp Gia Cường Kết Cấu

Xử Lý Sự Cố Nứt Bê Tông Bằng Phương Pháp Giảm Nội Lực Của Kết Cấu
Xử Lý Sự Cố Nứt Bê Tông Bằng Phương Pháp Giảm Nội Lực Của Kết Cấu

1064 Lượt xem

Xử lý sự cố nứt bê tông bằng phương pháp giảm nội lực của kết cấu là một giải pháp hiệu quả để khắc phục vấn đề này. Bài viết này giới thiệu các phương pháp và kỹ thuật để giảm tải kết cấu, sử dụng hợp lí cầu kiên có khuyết tật và đặt thêm kết cấu giảm tải. Tìm hiểu thêm ngay!

Xử lí sự cố nứt bê tông bằng phương pháp phun vữa hoá chất
Xử lí sự cố nứt bê tông bằng phương pháp phun vữa hoá chất

907 Lượt xem

Như ta đã biết, sự cố nứt bê tông thường xảy ra do tải trọng thiết kế, chênh lệch nhiệt độ, bê tông co ngót, nền lún không đều, khuyết tật để lại do chất lượng thi công đều có thể trùng lặp. Vì vậy, vết nứt hình thành thường tương đối nghiêm trọng. Do đó, ta có thể xử lý sự cố nứt bê tông bằng phương pháp phun vữa hóa chất. Hãy cùng Phúc Bình An tìm hiểu thêm nhé.

Tư vấn thiết kế mẫu nhà phố 5x20 sang trọng, hiện đại và tiết kiệm
Tư vấn thiết kế mẫu nhà phố 5x20 sang trọng, hiện đại và tiết kiệm

936 Lượt xem

Có rất là nhiều khách hàng đã tìm đến Xây Dựng Phúc Bình An và muốn tham khảo các mẫu nhà đẹp, hiện đại và phù hợp với diện tích mặt bằng là 5x20m.

Cách lập 2 mẫu hợp đồng cải tạo sửa chữa nhà mới nhất năm 2022
Cách lập 2 mẫu hợp đồng cải tạo sửa chữa nhà mới nhất năm 2022

944 Lượt xem

Khác với việc xây dựng mới hoàn toàn một ngôi nhà thì việc sửa chữa cần một mẫu hợp đồng cải tạo sửa chữa nhà.

Các mẫu hợp đồng sửa chữa nhà dễ lập nhất năm 2022
Các mẫu hợp đồng sửa chữa nhà dễ lập nhất năm 2022

766 Lượt xem

Khi thực hiện việc xây dựng một ngôi nhà ở để an cư lạc nghiệp và xây dựng tổ ấm hạnh phúc thì gia chủ và công ty xây dựng để lập nên các mẫu hợp đồng sửa chữa nhà nhằm đảm bảo thực hiện các quy định điều khoản theo đúng thỏa thuận giữa hai bên từ buổi ban đầu.

Nhà phố mặt tiền 10m kinh doanh sẽ như thế nào?
Nhà phố mặt tiền 10m kinh doanh sẽ như thế nào?

1142 Lượt xem

Một ngôi nhà ở một vị trí đắc địa, thuận lợi cho giao thông, tọa lạc tại các khu đông dân cư sẽ cực kỳ phù hợp để kinh doanh ở phần dưới và để ở phần phía trên của ngôi nhà

Một số mẫu thiết kế nhà phố đẹp nhất 2022
Một số mẫu thiết kế nhà phố đẹp nhất 2022

798 Lượt xem

Hầu hết mọi người đều có xu hướng di chuyển đến những khu vực đông dân cư để sinh sống và làm việc.

Quy trình dich vu sua nha chất lượng tại Phúc Bình An
Quy trình dich vu sua nha chất lượng tại Phúc Bình An

806 Lượt xem

 

Quy trình dich vu sua nha chất lượng tại Phúc Bình An. Cùng Xây Dựng Phúc Bình An tìm hiểu chi tiết qua bài viết dưới đây nhé! 

Mách bạn một vài lưu ý khi làm đơn xin sửa chữa nhà cấp 4
Mách bạn một vài lưu ý khi làm đơn xin sửa chữa nhà cấp 4

837 Lượt xem

 

Mách bạn một vài lưu ý khi làm đơn xin sửa chữa nhà cấp 4. Cùng Xây Dựng Phúc Bình An tìm hiểu chi tiết qua bài viết dưới đây nhé! 

Tìm hiểu về giá sửa nhà mới nhất hiện nay
Tìm hiểu về giá sửa nhà mới nhất hiện nay

752 Lượt xem

Khi đời sống ngày càng phát triển, nhu cầu về chất lượng cuộc sống ngày càng được chú trọng thì việc sửa chữa, tân trang lại tổ ấm là nhu cầu của rất nhiều gia đình

Tìm hiểu về những thông tin cơ bản về hợp đồng sửa chữa nhà
Tìm hiểu về những thông tin cơ bản về hợp đồng sửa chữa nhà

802 Lượt xem

Khi đời sống ngày càng phát triển, nhu cầu về chất lượng cuộc sống ngày càng được chú trọng thì việc sửa chữa, tân trang lại tổ ấm là nhu cầu của rất nhiều gia đình

Xử lí sự cố nứt bê tông bằng phương pháp củng cố cục bộ và ví dụ thực tế
Xử lí sự cố nứt bê tông bằng phương pháp củng cố cục bộ và ví dụ thực tế

1107 Lượt xem

Bài viết chia sẻ về công tác Xử lí sự cố nứt bê tông bằng phương pháp củng cố cục bộ bao gồm: Phương pháp chèn lấp, phương pháp ứng trước và một vài phương pháp khác. Cùng Xây dựng Phúc Bình An tìm hiểu cụ thể.

Phương pháp xử lí vết nứt bê tông bằng phương pháp xử lý vết nứt và lựa chọn
Phương pháp xử lí vết nứt bê tông bằng phương pháp xử lý vết nứt và lựa chọn

943 Lượt xem

1. Các loại phương pháp xử lí

Phương pháp xử lý vết nứt có mấy loại sau:

- Sửa chữa bề mặt: phương pháp thường dùng có ép chặt trát phẳng, sơn chất kết dính epoxy, phun vữa xi măng hoặc bê tông đá nhỏ, dán vải sợi thuỷ tinh mát tít epoxy. Epoxy resin, tăng tính toàn khối của lớp mặt, nào vết nứt bằng bu lông thép.

Nguyên nhân tính chất đặc trưng của vết nứt bê tông
Nguyên nhân tính chất đặc trưng của vết nứt bê tông

1873 Lượt xem

Nứt bê tông rất phổ biến, sự phá hoại của không ít kết cấu bê tông cốt thép đều bắt đầu từ vết nứt. Do đó phải rất coi trọng việc phân tích và xử lí vết nứt của bê tông. Nhưng cần phải chỉ ra rằng, có một số vết nứt trong bê tông là rất khó tránh. Như, cấu kiện chịu uốn bé tông cốt thép thông thường, với 30-40% tải trọng thiết kế, đã có thể bị nứt; mà ứng suất của cốt thép khi cấu kiện chịu kéo bị nứt chỉ là 1/14-1/10 ứng suất thiết kế của cốt thép.

Kỹ thuật gia cố khối xây
Kỹ thuật gia cố khối xây

1969 Lượt xem

Kỹ thuật gia cố khối xây thường được gia cố bằng nhiều cách khác nhau căn cứ vào những vẫn đề khác nhau. Thông thường gia cố bằng mười một cách dưới đây: 

I. Phương pháp gia cố và lựa chọn

II. Phương pháp mở rộng mặt cắt khối xây

III. Tường kẹp tấm xi măng cốt thép

IV. Bọt ngoài bằng bê tông cốt thép

V. Xây thêm hoặc làm cột vách đỡ

VI. Bọc thép bên ngoài

VII. Thêm đệm dầm

VIII. Đổi đầm đỡ hoặc đệm dầm

XI. Phương án thay đổi kết cấu

Chúng ta cùng tìm hiểu chi tiết từng cách một dưới đây: 

 

 

 

Xử lý sự cố sập đổ cục bộ
Xử lý sự cố sập đổ cục bộ

1111 Lượt xem

Các loại sư có sụp đổ cục bộ và nguyên nhân sự cố

Sập đổ cục bộ của kết cối khối xây nhiều nhất là công trình cột, tường sập đổ vòm gạch cũng có khi xảy ra, nhưng nguyên nhất đơn giản, hầu như đều là không thiết kế hoặc có sai phạm hoặc có sai phạm trong thiết kế, thêm nữa dùng vòm gạch ngày càng ít.

Xử lý sự cố cường độ độ cứng và tính ổn định của khối xây không đủ
Xử lý sự cố cường độ độ cứng và tính ổn định của khối xây không đủ

835 Lượt xem

I. Phân loại sự cố và nguyên nhân 

1. Sự cố cường độ không đủ

Cường độ khối xây không đủ, có thể biến dạng, có thể nứt, nghiêm trọng có thể sập đổ. Đối với sự cố cường độ không đủ phải đặc biệt chú ý sự cố có tính khuyết tật mà không thể hiện rõ rệt ở bên ngoài.

Xử lý khối xây bị nứt
Xử lý khối xây bị nứt

931 Lượt xem

Xử lý sự cố công trình xây
 Sự cố công trình xây thường có bốn loại dưới đây: 
1. Khối xây bị nứt; 
2. Cường độ khối xây không đủ; 
3. Khối xây sai lệch vị trí, biến dạng,
 4. Khối xây sập đổ cục bộ. 
 

Xử lí sự cố chất lượng công trình cọc đúc sẵn
Xử lí sự cố chất lượng công trình cọc đúc sẵn

1022 Lượt xem

I. Sự cố phá vỡ đầu cọc 

1. Phân tích nguyên nhân

- Cường độ bê tông không đủ hoặc cường độ thiết kế hơi thấp. Nói chung cường độ bê tông cọc đóng búa không được thấp hơn C30. Khi thi công, vì cấp phối không tốt, tỉ lệ nước-xi măng quá lớn, đảm không đặc chắc, bảo dưỡng không tốt làm cho cường độ bề tông không đạt được yêu cầu. 

Xử lý sự cố chất lượng cọc nhồi ống chìm
Xử lý sự cố chất lượng cọc nhồi ống chìm

876 Lượt xem

Cọc nhồi ống chìm theo công nghệ chìm thì ống tạo lỗ chia thành các dạng công nghệ như chấn động chìm ống, đóng búa chìm ống, nén tĩnh chìm ống, chìm ống đóng bên trong và chấn động tăng áp chìm ống. Đường kính ngoài của ống cọc thường dùng có các quy cách như Ø325mm, Ø377mm, Ø426mm, Ø480mm.

Xử lý sự cố công trình nền bằng thay thế kiểu hố đào
Xử lý sự cố công trình nền bằng thay thế kiểu hố đào

1047 Lượt xem

Thay thế kiểu hố đào cũng gọi là thay thế kiểu mố trụ. Nó là một loại phương pháp gia cố thay thế mà trực tiếp đào hố tới lớp chống đỡ theo thiết kế mới dưới móng của công trinh bij thay thế, sau đó từ đáy hố đổ bê tông đến đáy móng.

Xử lý sự cố giếng chìm
Xử lý sự cố giếng chìm

1087 Lượt xem

Giêng chìm trong thi công móng sâu có ưu điểm đặc biệt. Giếng chìm chiến diện tích đất nhỏ, không cần làm hở quây, tương đối ổn định và tin cậy về mặt kĩ thuật, thao tác đơn giản, không cần các thiết bị chuyên ngành đặc biệt. Nhưng nếu thi công không tốt, có thể xảy ra sự cố lượng khi hạ giếng, ảnh hưởng đến sử dụng. Do đó khi thi công phải dùng biện pháp kĩ thuật, trong đó quá trình hạ giếng tích cực vừa ngăn ngừa vừa chữa lệch, chú ý thao tác, làm tốt công tắc hạ giếng bịt đáy.

Xử lý sự cố lỗ rỗng móng
Xử lý sự cố lỗ rỗng móng

1412 Lượt xem

Sự cố công trình móng ngoài những loại thường gặp như sai lệch vị trí, biến dạng, nứt, bê tông bị rỗ, còn những sự cố móng như: đứt cọc, thân cọc nhỏ, sai lệch vị trí móng, sự cố lỗ rỗng móng,... Vậy nguyên nhân và phương pháp xử lý sự cố lỗ rỗng móng như thế nào? Chúng ta cùng tìm hiểu ngay bên dưới.
 

Xử lý sự cố biến dạng móng
Xử lý sự cố biến dạng móng

1086 Lượt xem

Sự cố biến dạng móng phần lớn có liên quan đến nhân tố nền, bởi vì biến dạng cũng là một trong những loại sự cố móng thường gặp, đồng thời nguyên nhân gây nên loại sự cố này cũng không hạn hẹp ở sự cố nền, vì vậy cần phải giới thiệu xử lý loại sự cố này.

Phương pháp xử lý sai lệch vị trí móng
Phương pháp xử lý sai lệch vị trí móng

2156 Lượt xem

Nguyên nhân thường gặp của sự cố sai vị trí móng thường là: Sai sót trong khảo sát; Sai sót trong thiết kế; Sai sót trong thi công; Hay ảnh hưởng của công trình bên cạnh, xếp tải trên mặt đất quá lớn.

Vậy phương pháp xử lý sự cố sai lệch móng như thế nào?

Nguyên nhân thường gặp của sự cố sai vị trí móng
Nguyên nhân thường gặp của sự cố sai vị trí móng

876 Lượt xem

Phân loại và đặc điểm của sự cố sai vị trí móng. Sự cố sai vị trí móng chủ yếu có mấy loại dưới đây:

Phương hướng công trình sai

Vị trí mặt bằng móng sai

Cốt cao độ của móng sai

Cốt cao độ, vị trí của các lỗ chừa sẵn và chi tiết chôn sẵn sai.

Xử lý sự cố công trình nền bằng phương pháp thay thế mở rộng móng
Xử lý sự cố công trình nền bằng phương pháp thay thế mở rộng móng

870 Lượt xem

Rất nhiều công trinh vốn có hoặc công trinh thêm tầng, thường thường do diện tích chịu lực của móng không đủ mà sinh ra lún quá lớn hoặc lún không đều, làm cho nứt công trinh hoặc nứt móng. Lúc này, có thể dùng phương pháp thay thế mở rộng móng.

Trình tự và những điều cần chú ý khi xử lý sự cố công trình nền
Trình tự và những điều cần chú ý khi xử lý sự cố công trình nền

977 Lượt xem

Xử lý sự cố công trình nền bằng kĩ thuật thay thế hay thay thế mỏng là tên gọi chung kỹ thuật xử lý và gia cố đối với nền mỏng của công trinh vốn có, hoặc các vấn đề như xây dựng công trinh ngắm dưới mỏng của công trinh vốn có, trong đó bao gồm các đường hầm xuyên qua hoặc bên cạnh cần xây dựng những công trinh mới mà ảnh hưởng đến an toàn của công trinh vốn có. Công trình tiến hành kỹ thuật thay thế gọi chung là công trình thay thế.


Hiển thị 1 - 30 / 85 kết quả

Đã thêm vào giỏ hàng