Xử lý sự cố công trình nền bằng phương pháp thay thế mở rộng móng
Rất nhiều công trinh vốn có hoặc công trinh thêm tầng, thường thường do diện tích chịu lực của móng không đủ mà sinh ra lún quá lớn hoặc lún không đều, làm cho nứt công trinh hoặc nứt móng. Lúc này, có thể dùng phương pháp thay thế mở rộng móng.
Phương pháp thay thế mở rộng móng, nói chung có thể dùng lồng bê tông hoặc bê tông cốt thép để gia cố móng. Loại bê tông dùng cho mở rộng móng có chiều rộng nhỏ hơn hoặc bằng 30cm, loại bê tông cốt thép có thể dùng mở rộng móng lớn hơn 30cm. Phần mở rộng chiều rộng của móng băng nếu dùng để chịu tải trọng lệch tâm, có thể chỉ mở rộng về một phía.
Mở rộng một phần móng băng
1. thân tường cũ; 2. Móng tường cũ; 3. Thanh chống nghiêng
4. Thép chữ I; 5. Phần mở rộng
Tải trọng chinh tâm, nên mở rộng về hai phía. Mở rộng móng tường thành móng tấm liền khối. Đối với móng cột độc lập thường gia cố xung quanh toàn bộ mặt đáy móng.
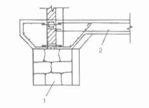
Mở rộng hai phía móng băng
1. Thân tường cũ; 2. Móng tường cũ;
3. Khoan lỗ chân tường cốt thép;
4. Phần mở rộng của móng
5. Thanh neo cốt thép
Móng tường mở rộng thành móng tấm liền khối
1. Móng tường cũ; 2. Móng liền khối
Móng mở rộng xung quanh móng cụt
Để làm cho đất nén của bộ phận mở rộng dưới móng có thể tham gia làm việc tốt, trên lớp đất nền của phần mở rộng phải phủ lớp sỏi hoặc lớp cát lẫn sỏi dày 10cm, đồng thời đấm chặt, để nâng cao sức chịu tải của nền ở bộ phận này.
Để làm cho vỏ bọc ngoài bê tông hoặc bê tông cốt thép gia cố liên kết chắc chắn với móng sẵn có, thể đục sờm và rửa sạch móng sẵn có, đồng thời cứ cách một độ cao nhất định (25cm) bố trí thanh neo cốt thép, dọc móng băng cứ cách 1,0 – 1,5 m dùng vòng cốt thép đường kính 20mm neo chắc. Ở Trung quốc thường dùng biện pháp dưới chân tường hoặc trong giằng khoan lỗ luôn cốt thép, dùng epoxy resin nhồi đầy lỗ để kết dính gia cố. Cốt thép luồn qua lỗ phải hàn chắc với cốt thép gia cố. Các nước khác thường dùng thép rộng móng cùng với mặt cắt các cấp và cốt thép của phần bê tông phần mở rộng. Xác định bằng tinh toán kết cấu thông thường.
Cần phải nhấn mạnh rằng, mở rộng móng băng có thể chia thanh nhiều đoạn riêng biệt có khoảng cách chiều dài 1,5 – 2m để thi công. Trong đoạn mở rộng móng, đào rãnh đất theo chiều rộng yêu cầu của thiết kế và đến chiều sâu của đáy móng, không cho phép ranh đào suốt trên toàn bộ chiều dài móng hoặc làm cho đất nền lộ ra ngoai, để tránh đất bão hòa bị ép ra từ đáy móng, khiến cho móng sinh ra lún không đều rất lớn.
>>>> Xem thêm:
Trình tự và những điều cần chú ý khi xử lý sự cố công trình nền
Nguyên nhân sự cố công trình nền
Sự trương nở hoặc co ngót của nền đất trương nở
Những sản phẩm không thể thiếu trong nhà
Những sản phẩm không thể thiếu trong nhà
Bạn muốn sửa chữa các đồ dùng thiết bị hư hỏng trong nhà mà thiếu những sản phẩm sau thì việc sửa chữa sẽ khó khăn hơn rất nhiều. Hãy để công cụ hỗ trợ đời sống bạn tốt hơn, những sản phẩm đang bán chạy rất được các chủ nhà ưa chuộng hiện nay.
1. Bộ Dụng Cụ Sửa Chữa Gia Đình Đa Năng 16 Món Tiện Dụng
- Bộ Dụng Cụ Sửa Chữa Gia Đình Đa Năng 16 Món là vật dụng tiện ích cần thiết cho mọi gia đình giúp bạn sửa chữa đồ điện gia dụng, xe máy, xe đạp… một cách nhanh chóng và tiện lợi.
- Gồm 16 món: cờ lê, kềm, búa, tua vít, keo, thước, dao dọc giấy, thước kéo, băng dính điện..., công cụ hỗ trợ hiệu quả cho công việc sửa chữa các vật dụng điện trong nhà.
- Các dụng cụ được làm từ chất liệu thép cao cấp, bền đẹp, sáng bóng, không gỉ.
- Tay cầm của các dụng cụ được bọc nhựa cách điện, cách nhiệt, êm ái cho đôi tay.
- Bộ sản phẩm với thiết kế nhỏ gọn với hộp đựng tiện dụng, đẹp, xinh xắn, tiết kiệm diện tích không gian nhà bạn và dễ dàng vận chuyển.
2. Đầu vòi lọc nước rửa bát tăng áp xoay 360 có thể kéo dài, chống bắn nước ra ngoài cực hiệu quả
3. Ổ Cắm Điện USB Đa Năng Cao Cấp Chống Giật Dây Dài 4m Công suất 2500W, 2 Cổng Cắm USB Có Chốt An Toàn Tiện Dụng
4. BỘ VÒI RỬA TĂNG ÁP LỰC & DÂY NHỰA PVC DẺO , VÒI TƯỚI CÂY - RỬA XE GIA ĐÌNH
Nếu Quý Khách đang có nhu cầu xây nhà hoặc sửa chữa lại nhà

CÔNG TY TNHH XÂY DỰNG - THƯƠNG MẠI - DỊCH VỤ PHÚC BÌNH AN
Địa chỉ: 30/3 Kp4, P.An Bình, Biên Hòa, Đồng Nai
Hotline: 0913 696981
Email: xaydungphucbinhan@gmail.com








Xem thêm