Các phương pháp tham khảo xử lý vết nứt bê tông
Các phương pháp tham khảo xử lý vết nứt bê tông sẽ giúp bạn có hướng nhìn mới hơn. Bao gồm 3 cách cơ bản là gia cường dầm đua tấm ngăn, cải thiện điều kiện sử dụng của kết cấu và tháo dỡ cục bộ làm lại.
I. Gia cường dầm đua tấm ngăn
1. Khái quát sự cố công trình
Một công trình nhiều tầng kết cấu khung đổ tại chỗ. Sau khi hoàn công công trình, bắt đầu sử dụng bình thường, sau một năm rưỡi, phát hiện chỗ chuyển góc giữa cột và khung ở cao độ dưới 12,31m có vết nứt, số lượng và kích thước không ngừng tăng, vết nứt rộng nhất tới 4mm, cột bị nghiêng và biến dạng một cách nghiêm trọng.
2. Nguyên nhân sự
Nguyên nhân xảy ra sự cố công trình này là thiết kế dầm nối có vấn đề. Có thể thấy cao độ mặt đất cũ là 3m, cao độ mặt đáy móng là -5.7m. Cao độ mặt đất sau khi xây dựng xong là 9,16m. Ở một phần dưới đất bố trí hai dầm nổi. Thiết kế cũ xem xét tới phía trên và phía dưới dầm đều lấp đất, nhưng không xét tới tải trọng gánh chịu của nó, nên trong dầm chỉ bố trí cốt thép cấu tạo. Trên thực tế chất lượng lấp đất có tốt cũng không đạt được tình hình lí tưởng này, sau một thời gian, đất đắp ở dưới dầm dần dần cô kết lún xuống, làm cho dầm treo lơ lửng, đất đắp trên dầm làm cho dầm chịu tải trọng tương đối lớn. Qua tính toán kiểm tra, nếu dầm chỉ gánh chịu trọng lượng khối đất hình chữ nhật phía trên chiều rộng của dầm, chưa gây nên sự phá hoại nghiêm trọng đối với dầm. Dưới ảnh hưởng của các nhân tố như góc ma sát trong của đất, trên thực tế tải trọng mà dầm nối phải gánh chịu là trọng lượng đất đắp hình thang ngược, do đó làm cho dầm nối bị phá hoại. đồng thời sinh ra lực kéo rất lớn theo chiều ngang đối với cột, làm cho cột nứt và nghiêng.
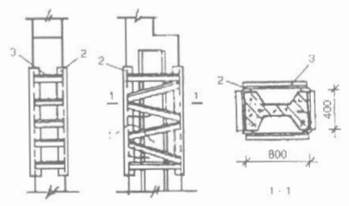
3. Phương án xử lý và điểm chính trong thi công
Do nứt nghiêm trọng, cột biến dạng tương đối lớn, phải sửa chữa gia cường. Công trình này đã dùng phương án xử lý giữa các cột của khung thêm dầm ngang, trên tấm ngăn.
Các điểm chính trong thi công gia cường là: bỏ lớp bảo vệ của cột, để lộ cốt thép chờ ở bốn xung quanh, đồng thời sau khi hàn một thanh cốt thép dọc phi 25, buộc cốt đai. đổ bê tông. Giữa các cột của khung bố trí thêm dầm ngang tấm ngăn, dày 200mm, cao 3.460mm. cao độ đáy dầm là 5,7m. Do trong các khoang có tầng ngầm, tường bồn xung quanh đã hình thành dầm đua tấm ngăn, cột liên kết với nó không bị nứt, do đó không cần xử lý.
Các phương pháp tham khảo xử lý vết nứt bê tông
(hình minh họa)
II. Cải thiện điều kiện sử dụng của kết cấu
1. Nguyên lý gia cố
Nhìn thẳng vào nguyên nhân sinh ra vết nứt của bê tông, dùng các biện pháp hữu hiệu về mặt cấu tạo hoặc trong sử dụng có thể hạn chế vết nứt phát triển hoặc ngăn ngừa vết nứt tái phát sinh. Như thường xuyên dọn sạch bụi trên mái, tránh vượt tải, cải thiện cấu tạo nhiệt của công trình đều có thể thu được hiệu quả dự kiến.
2. Ví dụ thực tế công trình
Một nhà xưởng một tầng của Nhật Bản dài 102m, tấm mái đổ tại chỗ dày 120mm. Sau khi hoàn công 1 năm phát hiện một phía của tum trên mái có vết nứt, sau 5 năm mái nhà xưởng nứt nghiêm trọng, lớp cách nước giấy dầu thấm nước do nứt gãy, một phần tấm tường đã nứt. Dựa vào tài liệu điều tra phân tích của Nhật Bản, nguyên nhân chủ yếu mái bị nứt là sự co ngót của bê tông và sự thay đổi có tính chu kì của nhiệt độ, nguyên nhân khác là công trình tương đối dài, sự ràng buộc tương đối lớn.
Các vết nứt trên tuy không nguy hiểm đến an toàn của kết cấu, nhưng ảnh hưởng đến sử dụng do đó cần xử lý. Do chênh lệch nhiệt độ giữa ngày và đêm của vùng này tới khoảng 22°C, chênh lệch nhiệt độ trong tấm mái bê tông tương ứng khoảng 17°C. Trong điều kiện sử dụng này, sau khi sửa chữa mái vẫn có thể nứt do sự thay đổi nhiệt độ có tính chu kì. Phương pháp sửa chữa mà công trình này sử dụng là đục vết nứt thành rãnh hình chữ V, chèn vật liệu có tính đàn hồi, tiếp đó phủ lên một lớp chất dẻo xốp có tính cách nhiệt tốt, sau đó làm lớp chống thấm bằng giấy dầu, trên cùng lát một lớp tâm bê tông, ép chặt lớp chống thấm. Qua tính toán kiểm tra kết cấu cho thấy sau khi tăng trọng lượng bản thân của kết cấu, sức chịu tải vẫn không có vấn đề. Sau khi sửa chữa do được chênh lệch nhiệt độ giữa ngày và đêm của lớp chống thấm khoảng 22°C chênh lệch nhiệt độ bên trong tấm mái tương ứng rất nhỏ, do đó, có thể tránh lại xảy ra nứt một lần nữa do sự thay đổi có tính chu kì của nhiệt độ.
Các phương pháp tham khảo xử lý vết nứt bê tông
(hình minh họa)
III. Tháo dỡ cục bộ làm lại
Trong thi công phát hiện một phần cấu kiện bị nứt nghiêm trọng, nếu không đạt được tiêu chuẩn nghiệm thu, có thể tháo dỡ cục bộ làm lại. Như một nhà ở của tỉnh Tứ Xuyên dùng panel bê tông thông thường và tường gạch. Dùng giàn giáo trong để xây gạch, tấm panel dưới chân của giàn giáo bị nứt do vượt tải nghiêm trọng, đồng thời có độ võng tương đối lớn. Sau khi phát hiện vấn đề, lập tức ngừng xây gạch và tháo dỡ giàn giáo, tháo bỏ tấm panel bị nứt nghiêm trọng, sau khi dựng ván khuôn và lắp đặt cốt thép đổ tấm bê tông tại chỗ có cùng chiều cao.
XEM THÊM
>>> XÂY DỰNG PHÚC BÌNH AN LÀ AI?
>>> DỊCH VỤ THIẾT KẾ NHÀ CHUYÊN NGHIỆP
>>> DỊCH VỤ THIẾT KẾ NỘI THẤT HIỆN ĐẠI
>>> DỊCH VỤ XÂY DỰNG NHÀ TRỌN GÓI
>>> DỊCH VỤ XIN GIẤY PHÉP XÂY DỰNG
>>> DỊCH VỤ SỬA CHỮA NHÀ GIÁ RẺ
>>> DỊCH VỤ THI CÔNG THẠCH CAO HIỆN ĐẠI
>>> DỊCH VỤ THI CÔNG SƠN NƯỚC NHÀ
>>> DỊCH VỤ SỬA CHỮA ĐIỆN NƯỚC
Những sản phẩm không thể thiếu trong nhà
Những sản phẩm không thể thiếu trong nhà
Bạn muốn sửa chữa các đồ dùng thiết bị hư hỏng trong nhà mà thiếu những sản phẩm sau thì việc sửa chữa sẽ khó khăn hơn rất nhiều. Hãy để công cụ hỗ trợ đời sống bạn tốt hơn, những sản phẩm đang bán chạy rất được các chủ nhà ưa chuộng hiện nay.
1. Bộ Dụng Cụ Sửa Chữa Gia Đình Đa Năng 16 Món Tiện Dụng
- Bộ Dụng Cụ Sửa Chữa Gia Đình Đa Năng 16 Món là vật dụng tiện ích cần thiết cho mọi gia đình giúp bạn sửa chữa đồ điện gia dụng, xe máy, xe đạp… một cách nhanh chóng và tiện lợi.
- Gồm 16 món: cờ lê, kềm, búa, tua vít, keo, thước, dao dọc giấy, thước kéo, băng dính điện..., công cụ hỗ trợ hiệu quả cho công việc sửa chữa các vật dụng điện trong nhà.
- Các dụng cụ được làm từ chất liệu thép cao cấp, bền đẹp, sáng bóng, không gỉ.
- Tay cầm của các dụng cụ được bọc nhựa cách điện, cách nhiệt, êm ái cho đôi tay.
- Bộ sản phẩm với thiết kế nhỏ gọn với hộp đựng tiện dụng, đẹp, xinh xắn, tiết kiệm diện tích không gian nhà bạn và dễ dàng vận chuyển.
2. Đầu vòi lọc nước rửa bát tăng áp xoay 360 có thể kéo dài, chống bắn nước ra ngoài cực hiệu quả
3. Ổ Cắm Điện USB Đa Năng Cao Cấp Chống Giật Dây Dài 4m Công suất 2500W, 2 Cổng Cắm USB Có Chốt An Toàn Tiện Dụng
4. BỘ VÒI RỬA TĂNG ÁP LỰC & DÂY NHỰA PVC DẺO , VÒI TƯỚI CÂY - RỬA XE GIA ĐÌNH
Nếu Quý Khách đang có nhu cầu xây nhà hoặc sửa chữa lại nhà

CÔNG TY TNHH XÂY DỰNG - THƯƠNG MẠI - DỊCH VỤ PHÚC BÌNH AN
Địa chỉ: 30/3 Kp4, P.An Bình, Biên Hòa, Đồng Nai
Hotline: 0913 696981
Email: xaydungphucbinhan@gmail.com






Xem thêm